Need Help?





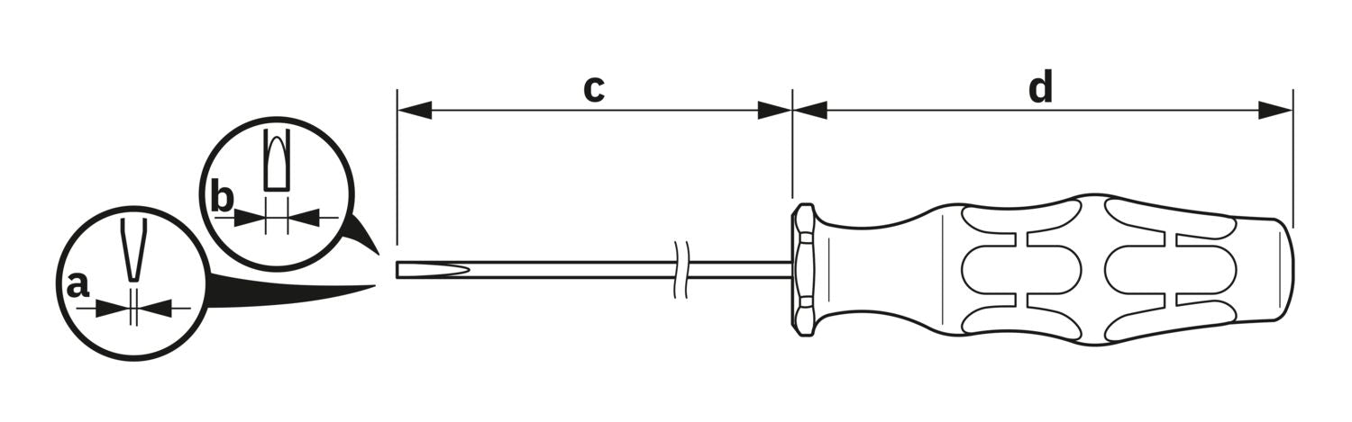
Screwdriver, slot-headed, graded, for test socket screws, size: 0.6 x 3.5 x 100 mm, 2-component grip, with non-slip grip
Thanks for subscribing!
This email has been registered!
| Product | SKU | Description | Collection | Availability | Product type | Other details |
|---|